- 產品列表更多
- 聯系我們更多
-
煙臺超群石化機械有限公司
電??????話:0535-6207725
圖文 ?傳真:0535-6349179
郵??????箱:cqsh2012@aliyun.com
銷售部手機:15864087878(李經理)
18954554963(黃靜)
18954557113(季潔)
13688662616(徐娜)
技術咨詢:15864087878(李經理)
Q Q:3292262386
售后查件電話:18863880818(周杰)

代表阻火器保護的最高規格,分為GZ-2穩態爆轟及 GZ-2-1非穩態爆轟主要用于長管段或有多個彎頭的管段,用以阻止穩定(可選 GZ-2)和不穩定爆轟(可選 GZ-2-1)。
特點
•最大流量、壓降小
•易清理、不易堵塞、維修少
•標準溫度檢測口
•易安裝、可拆卸的阻火柵,便于檢查和維護
•雙向結構
•支持 ANSI、DIN和 HG/T20592~20635-2009 法蘭
規格參數
型號 | 尺寸 | 氣體組別(IEC/NEC) |
---|---|---|
GZ-2管道穩態 阻爆轟阻火器 | 1”(DN25) ~ 40”(DN 1000) |
ⅡA/D ⅡB3/C ⅡC/B |
結構材料
型號 | 殼體 | 阻火柵 |
---|---|---|
GZ-2管道穩態 阻爆轟阻火器 |
碳鋼 304 316L 哈氏合金 |
304 316L 哈氏合金 |
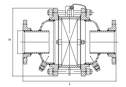
關鍵參數表
型號 |
A 公稱連接尺寸 In(mm) |
B 殼體尺寸 mm |
H 外徑 mm |
L 總長度 mm |
---|---|---|---|---|
GZ-2 | 1(25) | 100 | 220 | 364 |
2(50) | 150 | 285 | 404 | |
3(80) | 150 | 285 | 404 | |
4(100) | 200 | 340 | 454 | |
6(150) | 300 | 445 | 620 | |
8(200) | 400 | 565 | 660 | |
10(250) | 500 | 670 | 760 | |
12(300) | 600 | 780 | 860 | |
16(400) | 800 | 1015 | 1060 | |
20(500) | 1000 | 1255 | 1155 | |
24(600) | 1200 | 1485 | 1400 |
*容許公差為 ±1.00″ (25mm);參數內容僅供參考,更多需求請聯系我們。